menu zapri

VRTALNA PRIPRAVA VEL. 30

261065/0
Šablona za vrtanje lukenj v alu profile serije 30 zagotavlja natančne luknje, hitrejšo obdelavo profilov in enostavno montažo konstrukcij.
Cena: 64,71 € (78,95 € z DDV)
Na zalogi v centralnem skladišču.
Dobava 2-4 tedne.
Dodaj med priljubljene

K izdelku lahko dodate:

Tehnični podatki / vključeni artikli

  • Jekleni vodilni vložki Ø 7 mm
  • Ekscentrična objemka
  • Material: aluminij
  • Teža = 0,282 kg/kos

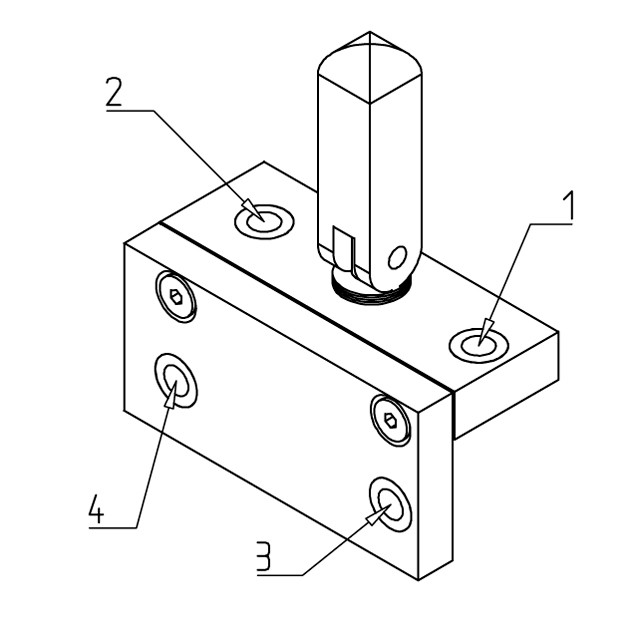
Uporaba

  • 1) Pozicioniranje stopnjastega vrtanja za vijak
  • 2) Povezovalni vrt na profilni plošči za pnevmatske vijake
  • 3) Predvrtanje za stopnjasto vrtanje za vijak profila 32 x 32
  • Primerno za vse profile profilne serije 30

Navodila za uporabo / način montaže

  • Pričvrstite vrtalno pripomoček na utor profila in izvrtajte z ustreznim svedrom skozi priloženi vložek
  • Vrtina Ø 7 mm se lahko zapre z zamaškom 7 ident št. 221215/1, uporablja se za naše zaprte T-utor profile