Pošiljke pošiljamo s Pošto Slovenije ter različnimi transportnimi podjetji v primeru kamionskih dostav. Za vse artikle je možen brezplačen osebni prevzem na sedežu podjetja Minitec d.o.o. (Teharska cesta 41, 3000 Celje, Slovenija).
Pošiljke do dolžine 1,6 m:
Teža
Cena brez DDV (v EUR)
do 2 kg
4,782
nad 2 kg do 5 kg
5,828
nad 5 kg do 10 kg
7,040
nad 10 kg do 15 kg
8,237
nad 15 kg do 20 kg
9,355
nad 20 kg do 25 kg
10,776
nad 25 kg do 31,5 kg
12,291
Pošiljke do dolžine 2,5 m in višine 1,8 m:
Teža
Cena brez DDV (v EUR)
do 31,5 kg
18,139
nad 31,5 kg do 70 kg
22,131
nad 70 kg do 100 kg
29,516
nad 100 kg do 200 kg
49,353
nad 200 kg do 300 kg
60,025
nad 300 kg do 600 kg
76,557
nad 600 kg do 1000 kg
87,943
Pošiljke do dolžine 4 m:
Teža
Cena brez DDV (v EUR)
do 50 kg
32,746
nad 50 kg do 250 kg
58,541
nad 250 kg do 600 kg
85,975
Za pošiljke nad 4 m dolžine se strošek dostave izračuna naknadno!
Na zahtevo na voljo tudi v črni barvi, ident št.221080/0
Teža = 0,550 kg/m
Dolžina palice = 2 m
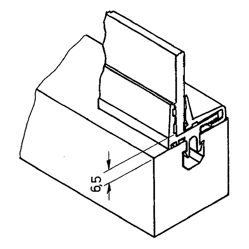
Uporaba
Pritrditev površinskih elementov z največjo debelino 8 mm
Za površinske elemente manjše od 4 mm je treba vstaviti gumijast trak iz mahu
Okna, vrata
Brez prostega prostora med profilom in ploščatim elementom
Primeren tudi za valovito mrežo
Navodila za uporabo / način montaže
Vstavite polovični zaskočni nosilec v utor profila
Vstavite ploščati element
Trdno pritisnite zaskočno polovico na nosilno polovico
Za namestitev površinskih elementov debeline manj kot 4 mm je priporočena vstavitev dodatnega gumijastega traku ali podobnega, npr. našega ploskega gumijastega traku 10x3 mm, samolepilnega ident št.22.1129/0
Spletno mesto za boljšo uporabniško izkušnjo, analitiko, oglaševanje in dodatne funkcije uporablja piškotke. Z izborom opcije Strinjam se dovoljujete uporabo piškotkov za vse navedene namene. Za prilagoditev dovoljenj piškotkov kliknite na Nastavitve piškotkov. Več informacij o piškotkih najdete tukaj.