NOVO: Raziščite Minitec spletno trgovino!

menu zapri

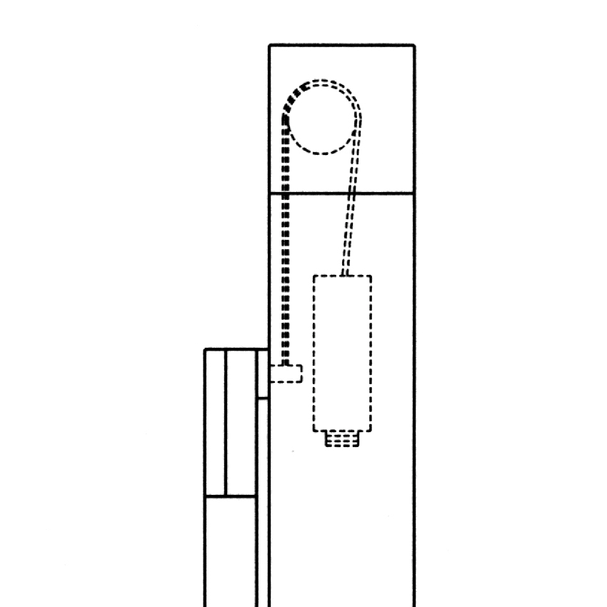
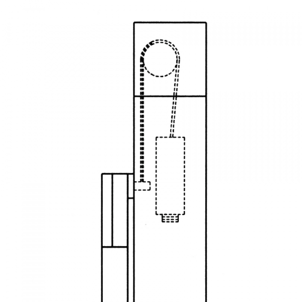
ŠKRIPEC ZA VERIGO 32

211774/0
Verižni škripec 32 za preusmeritev verige pri dvižnih vratih s protiutežjo.
Cena: 77,80 € (94,92 € z DDV)
Na zalogi v centralnem skladišču.
Dobava 2-4 tedne.
Dodaj med priljubljene

K izdelku lahko dodate:

Tehnični podatki / vključeni artikli

  • Aluminij, anodiziran E6/EV1
  • Ohišje iz profila 45 x 90
  • Zobnik iz pocinkanega jekla, pripravljen za montažo
  • Zaključni pokrov
  • Maksimalna teža dvižnih vrat pri dvojni vstavitvi zobnika, 50 kg
  • Teža = 0,388 kg/kom

Uporaba

  • Enota za preusmeritev verige protiuteži na dvižnih vratih, za notranjo izravnalno težo v profilu 45 x 90 F ali 45 x 90 G

Navodila za uporabo / način montaže

  • Priklop na nosilni profil z 2 terminalnima letvicama 90 ident št. 211029/0
  • Uporaba verige 04 ident št. 211713/0 in uteži za stiskanje verige ident št. 211711/0
  • Kabel je vodeni v profilu, zato zaščita rok ni potrebna