NOVO: Raziščite Minitec spletno trgovino!

menu zapri

VPENJALO VERIGE PROTIUTEŽI TIPA 45 IN 90

210925/0
Utež za zategovanje verige S omogoča natančno zategovanje in varno pritrditev verige v aluminijastih profilnih vratnih sistemih.
Cena: 13,45 € (16,41 € z DDV)
Na zalogi v centralnem skladišču.
Dobava 2-4 tedne.
Dodaj med priljubljene

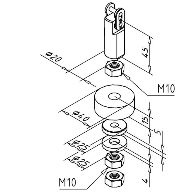
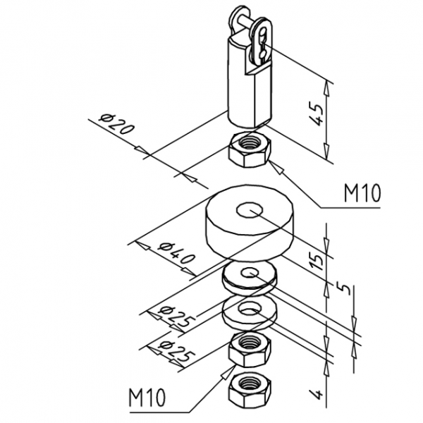
Tehnični podatki / vključeni artikli

  • Jeklo, pocinkano
  • Gumijast obroč
  • Verižna sponka
  • Prosimo, naročite navojno palico M10 ident št. 211667/0 posebej, v želeni dolžini
  • Teža = 0,145 kg/kos

Uporaba

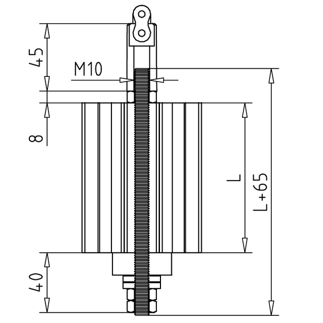
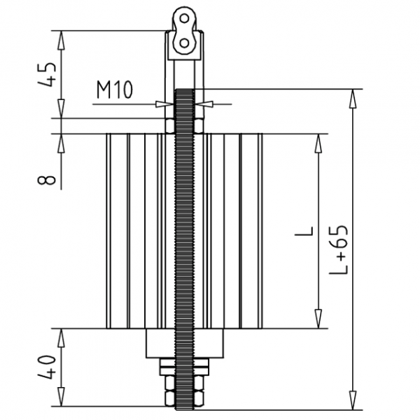
  • Uporaba v povezavi z valjčno verigo 08 in utežjo za izravnavo 45 ali 90
  • Dolžina navojne palice = dolžina uteži + 65 mm

Navodila za uporabo / način montaže

  • Navojne palice speljite skozi utež
  • Na obeh koncih pritrdite priložene dele
  • Navoje palice povežite s priloženo verižasto sponko

Zadnje ogledani artikli

top izdelek
Na zalogi
14,40 € (z DDV)
11,80 € (brez DDV)
Dodaj med priljubljene
Na zalogi v centralnem skladišču.
Dobava 2-4 tedne.
13,37 € (z DDV)
10,96 € (brez DDV)
Dodaj med priljubljene
Na zalogi
7,08 €/m (z DDV)
5,80 €/m (brez DDV)
Dodaj med priljubljene